,CATERPILLAR,428D

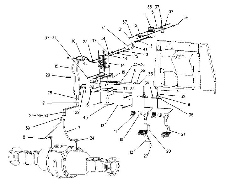
SWITCH FRANA CATERPILLAR 428D

SWITCH FRANA POZ 6 = 19.55 EURO + TVA / BUC X 2 BUC

Create pentru prima data in 1986, miniexcavatoarele Bobcat raspund unor nevoi variate, industrie, constructii, agricultura, aceasta capacitate stand la baza succesului sau. Astazi bobcat este considerat liderul mondial al echipamentelor compacte de constructii.Gama de miniexcavatoare Bobcat cuprinde 13 modele cu o capa
mai multe detalii ...
428D, CATERPILLAR,
Grederele sunt considerate masinile cel mai greu de exploatat. Dupa ani de cercetari intense si teste de performanta, noile gredere Caterpillar din Seria M redefinesc ideea de "usor de folosit". Lucrul cel mai impresionant la noua Serie M este acela ca nu exista leviere- in conditiile in care un greder tipic
mai multe detalii ...
CATERPILLAR, , 428D

Sediu : 700045 Iasi, Strada Sfantul Lazar nr. 27, Kapital Invest Building -  etajul 2
Depozit :
700382 Iasi,Str. Aurel Vlaicu 88
600343 Bacau,Str. Letea 32
062202 Bucuresti, Str. Preciziei 32
2059 Chisinau, Str. Petricani 19/4

Societate aflata in insolventa prin hotararea Tribunalului Iasi din 21 martie 2025, dosar nr. 1116/99/2025

Telefon Romania:

+40 743 122 261
office@commatech.ro